P/390 Information
@8F9E.ADF - IBM S/390 Microprocessor Complex (P/390)
p3902021.zip PC Server S/390 (P/390) Fixpack 2.2.1 
p3902033.zip PC Server S/390 (P/390) Fixpack 2.3.3 
p390dgs.zip PC Server 500 S/390 (P/390) Diag Fixes 

P/390 Links (thanks, Gilbert!!!) These are for people that actually USE the P/390... (Unlike me..)



P/390 Processor

Microprocessor Complex
   The P/390 processor is a single chip on the card. The processor has approximately 220K gates and uses 420 signal pins of the 647-pin mount. (The other pins are used for power and grounds.) It has 32KB of control storage and uses horizontal microcode with 136 bits per word. Internal data flow is 64 bits wide. The basic P/390 adapter has 32 MB storage. 

   The P/390 adaptor contains its own timing circuits, and its clocking is independent of the Server. The current P/390 contains a 71 MHz clock that is divided into a four-phase clock of approximately 17.7 MHz. Different S/390 instructions require different numbers of clock cycles to complete, but the average performance is approximately 4.5 S/390 processor MIPS. An important design goal was to avoid any modifications to OS/390 (or any other S/390 operating system used with the system). The key to doing this was to move all I/O operations to the OS/2 side of the system. No modifications are required for OS/390 to run on this system, although some reconfiguration may be appropriate.

   The P/390 microprocessor is a single chip. It is controlled by microcode that is loaded when the P/390 subsystem is started. The P/390 processor (through hardware and microcode) implements the full S/390 subchannel architected interfaces; that is, a S/390 program can issue all the defined I/O instructions and work with the control blocks associated with these instructions. The subchannel control blocks (as used in all System/390 platforms) are the link between the
S/390 processor and the OS/2 support programs.

32MB or  96MB P390 Memory Daughter Card

  The S/390 Microprocessor Complex consists of a P/390 Processor Card and an optional P/390 32MB (expands P/390 memory to 64MB), or P/390 96MB Memory Card (expands P/390 memory to 128MB) attached to the P/390 Processor Card.  When a daughter card is used, the storage is interleaved. The 32MB storage on the S/390 processor card is not the “first 32MB.” 
  When the processor card is installed with a memory card attached, the voltages for the memory card are provided by the system-board slot adjacent to the slot occupied by the processor card. Together the P/390 Processor Card and a P/390 32MB, or P/390 96MB Memory Card occupy two adjacent slots on the system board. 
  Each of the two sides (OS/2 and P/390)  has its own dedicated memory and this cannot be shared with the other side. The daughter card requires a Micro Channel slot; it uses the slot for power and ground connections, but does not transfer data through the Micro Channel.

Can the P/390 processor card be run as a Microchannel adapter?
A: It might work, but it is not available as a separate adapter card. Notice that we said it might work. A P/390 system is complex, with OS/390 (or VM or VSE), OS/2 or AIX, a heavily-loaded disk subsystem, rather complex device emulation routines, and (often) external connections to “real” S/360, S/370, and S/390 devices. Developing and supporting this in a few, well defined environments enables IBM to provide a stable, supportable product. Attempting to build, test, debug, and support the same functions on the full range of all possible Micro Channel systems (and all the potential adapters these might use) is an unreasonably large job.

Can I write my own device managers?
A: Yes, but it is not a trivial job. Information is found in two ZIP files contained in the P/390 subsystem diskettes. The files are AWSDEV.ZIP and AWSDMEX.ZIP. (Another ZIP file, PWSPOWER.ZIP, is concerned with managing a multiprotocol adapter; this is not relevant to OS/390 usage.) Device managers are written in C (or C++ or PL/I) or Intel assembly
language. Examples and descriptions of both methods are provided.

Can I install multiple P/390 adapter cards and create an MP system?
A: Multiple P/370 (not 390) adapters have been installed in a single server, but only for specialized demonstrations. This does not produce an MP system because memory and interrupts are not shared among the adapters. At this time, this is not a practical solution for anything, and it is not supported by IBM.

P/390 FAQ

Same file, but straight from the PCBBS faq390.txt

PC SERVER 500 SYSTEM/390 PERFORMANCE

IBM PC SERVER SYSTEM/390 QUICK PRODUCT GUIDE:

The last Server 500 Specific P/390 Quickref

P/390 Home Page Welcome to the P/390 Development Home Page.
 

You cannot use a Micro-Channel P/390 with the PCI S/390 Parallel Channel Adapter. The "bridge" chips used in combo systems don't support busmaster transfers between adapters of different bus types.

A Micro-Channel version of the AWSICE adapter exists, but is only available in selected OEM environments. The Micro-Channel AIB is the same as the PCI AIB, except for a different back-plate. However, a Micro-Channel system requires a Micro-Channel ARTIC adapter, which is entirely different from the PCI ARTIC.

PCServer500 - Features (S/390)
PCServer500 - Documentation And Manuals (S/390)
PCServer500 - Machine Check Error Messages (S/390)
PCServer500 - POST (S/390)

Product overview (S/390)
   The IBM PC Server 500 System/390 is a PC Server 500 (see -- Heading 'PCS500' unknown --) with an IBM S/390 Microprocessor Complex (see 'Locations´ ) installed. The S/390 Microprocessor Complex and S/390 programs provide the hardware and software required to run 390-based applications on the PC Server 500 System/390.

Configuration (S/390)
   In addition to the configuration program for the Server 500 (see 'Configuration (Server 500)´), a configuration program is provided for configuring the S/390 Microprocessor complex (see 'Microprocessor Complex Configuration (S/390)´). 
   The Server 500 Configuration Program requires the following information for each card (adapter) and device installed in the computer. 
    - .ADF ) and .DGF files. (Normally found on the option diskette for 
         the card or device and must be installed on the default drive.) 
    - Device driver statement in config.sys file. (Required for computer to 
         load necessary files required to support card or device.)

Note  The device driver statement for the P/390 card should be the last statement (last line) in the config.sys file. 

Microprocessor Complex Configuration (S/390)
   Microprocessor Complex Configuration (S/390) After the S/390 Microprocessor Complex has been successfully initialized, the S/390 Configuration program can be accessed by clicking on the 390 (370) Configuration Icon in the System/390 (System 370) Group on the OS/2 Desktop. See 'Icons (System/390)´.
    The Configuration program is a menu driven program that provides two main functions.
    It allows you to describe the mapping between the input/output (I/O) devices available on the PC Server System/390 and the System/370 I/O devices they emulate. See 'Device Map´.
     It provides an easy way for Virtual Machine/Enterprise Systems Architecture (VM/ESA) users to create and maintain new VM userids on the PC Server System/390 and minidisks associated with these userids.

   Changes are made to the system configuration by changing the values in the data menus.

   The following example of reading a 9336 DASD summarizes how the 370 I/O subsystem emulates I/O operations on the PC Server System/390.

    1. 390 OS does a system I/O instruction to real device 100.
    2. The 390 Licensed Internal Code (LIC) passes all I/O instructions to 
          the 370 I/O subsystem running on the PC Server Processor Complex.
    3. The 370 channel emulator executes the 370 channel program and 
          passes the request to the device manager that claims that range of 
         devices in DEVMAP. In this example, it would be an fixed block 
         architecture (FBA) device manager.
    4. The FBA device manager gets the request for device 100. It looks in
         the DEVMAP entry for device 100 to fill out the OS/2 file name for 
         9336 device 100. The device map points to the OS/2 file that 
         emulates the 370 disk drive, for example, D:\VM\MAINT.191 for a 
         VM system or D:\VSDISRES.140 for a virtual storage extended (VSE) system.
     5. A request is issued to OS/2 to read the data from the OS/2 file name 
          MAINT.191 in the \VM directory of disk drive D: or from the OS/2 
          file name DOSRES.140 in the \VSE directory of disk drive D:/
     6. OS/2 issues the request for the data to the PC Server device 
          containing disk drive D:
     7. The data is passed back up the line until it is presented to the 
          requesting VM or VSE program.

   The Configurator requires the following four files to operator correctly. (For information on the content of these files, refer to the Introducing the PC Server 500 System/390L manual (Form Number GC24-5717-00) supplied with the computer.
                  - DEVMAP.xxx
                  - DMKRIO.ASM
                  - DMKSYS.ASM
                  - USER.DIR
 

Error Reporting (S/390)
The S/390 Microprocessor Complex uses the following methods of error reporting. 

POST Error 165 (configuration)  If this error is displayed and the P/390 card does not appear on the installed devices list, it is an indication that one or more of the following problems exist: 
    - Missing or bad .ADF or .DGS files 
    - Missing or incorrect statement in the config.sys file. (The statement for
         the P/390 should be the last line in the config.sys file.) 

Dialog Box (Machine Check Errors) If an error is detected during or after initialization of the P390 card, a Dialog Box with a Machine Check error is displayed. If this occurs, run the P/390 Diagnostic and Option diskette. For a list of common Machine Check errors, see 'Machine Check Error Messages.´ 

AWS Error Log  Contains ASKI test information about failures that occurred during operation. Located in the P390 subdirectory on the hard disk drive (path = C:\P390\AWSERROR.LOG ), this file can be edited with a text editor. 

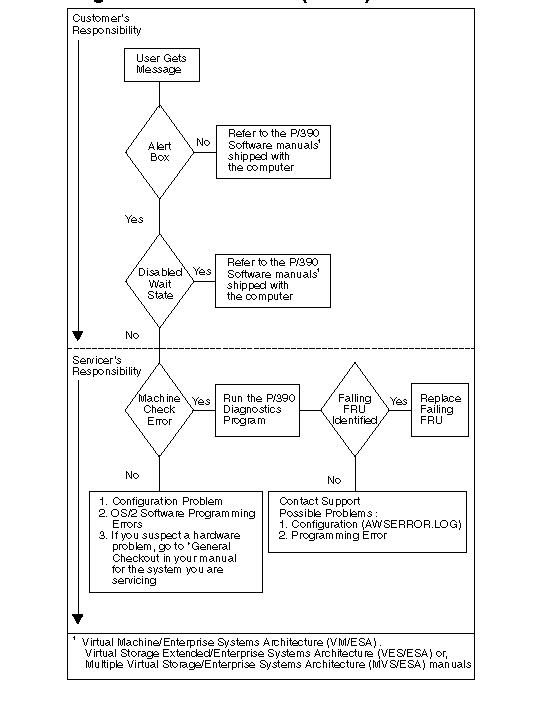
Diagnostic Flow Chart (S/390)

Device Managers (S/390)
   The PC Server System/390 supplies several device managers to support emulation of 370 I/O devices. The device managers are OS/2 applications that are started when S/390 Microprocessor Complex is IPL'ed with a device map containing device definitions that use the device managers. 
     Each device manager is identified by name on the PC Server/390 Configuration screen that is used to perform device mapping. See 'Microprocessor Complex Configuration (S/390)´. (Do not confuse this configuration program with the PC Server 500 Configuration program.)

The following is a list of device managers and their function. 

Note  For detailed information about device drivers, refer to the Introducing the PC Server 500 System/390L manual (Form Number GC24-5717-00) supplied with the computer. 
Device Managers Name
Function 
AWSCDK
Count Key Data (CKD) DASD Emulator 
AWSDEV
General interface for device drive emulation of 370 
AWSFBA
Fixed Block Architecture (FBA) DASD Emulator 
AWSICA
Integrated Communications Adapter (ICA) support 
AWSOMA
Optical Media Attach 
AWSPCSRV
AWSPOSDD Supports dynamic POS mode of AWSICADD 
AWSSTART
Starts 7432 managers under OS/2 
AWSSTOP
Stops 7432 managers under OS/2 
AWSTAPE
3803/3420 Emulator 
AWSTFA
Transparent File Access (VM) 
AWSWAIT
Waits for 7437 managers to start under OS/2 
AWS2540
2540 Card Reader Emulator 
AWS2703
2703 Emulator 
AWS2821
Printer Manager 
AWS3172
3172 Local Area Network (LAN) Gateway (SNA)der OS/2 
AWS3215
OS/2 Typewriter Keyboard Emulator 
AWS3274
3274 Control Unit Emulator (non-SNA) 
AWS5080
5080 Driver 
AWS9346
SCSI Quarter Inch Tape Drive Manager 
AWSC370
S/370 Channel Emulator Device Manager 
 LAN3088
3088 Emulation over a LAN 
LAN3274
LAN 3270 sessions (non-SNA) 
LAN3172
3172 LAN channel Station for transmission control protocol/internetprotocol (TCP/IP) (VM) 
LAN3172 
3172 LAN channel Station for transmission control protocol/internetprotocol (TCP/IP) (VM) 

Software/Diagnostics (S/390)
Note
   Knowledge of System/390 and CP/390 architecture is essential to the proper use of these processor control functions. Information about System architecture is found in IBM Principles of Operation, GA22-7201.
    VM/ESA and VSE/ESA use the same problem determination tools on the PC Server/390 for debugging 390 operating system and applications problems as they do on 390 mainframe systems.
   Standard OS/2 debugging tools can be used to assist with problems with the 390 environment on the PC Server/390 since many of the functions use OS/2 facilities and PC Server devices. The 390 Processor Complex Programs also have the following tools for controlling and debugging the system.
390 Manual Operations
Provides the function of the 390 hardware consoleas on mainframe systems.
390 Status Window
Displays the processor status word (PSW) and currentstatus of the 390 processor.
390 I/O Trace
Used to trace I/O request between the 390 processor andits I/O subsystem. The trace can be selected by device and can be writtento an OS/2 file. It can also be displayed in a Presentation Manager windowby selecting the 390 I/O trace icon. (See 'Icons (System/390)").
Snap Shot Dump
Creates a binary file of the I/O subsystem to be usedby IBM support personnel during problem determination. This program isselected by clicking on the Snap Shot Dump icon.

Microprocessor Complex Diagnostics (S/390)
  The IBM P/390 Advanced Diagnostics and Options Diskette contains the programs used to test the S/390 Microprocessor Complex installed in the computer, and the ADF and DGF files required for configuration. To run the S/390 Microprocessor Complex Diagnostics programs, see 'Advanced Diagnostics and Options Diskette (S/390).´

Advanced Diagnostics and Options Diskette (S/390)
   The Advanced Diagnostics and Options Diskette is a self-booting diskette that contains the P/390 diagnostic programs. The diagnostic programs are designed to be used with the diagnostic diskette and diagnostic information in the IBM PS/2 Hardware Maintenance manual for the computer you are servicing. The results of the diagnostic tests are reported as a success or failure.

To run the P/390 diagnostic programs, do the following.
Note
    First run the diagnostics program for the computer you are servicing. If the P/390 card is recognized by the configuration program (the P/390 appears on the installed devices list), the diagnostics program will instruct you to run the P/390 Diagnostics and Option diskette. If the P/390 card is not recognized by the configuration program (does not appear on the installed devices list), go to 'Error Reporting (P/390)´.

  1. Power-off the computer; then power-off all external devices.
  2. Insert the P/390 Diagnostics and Option diskette into drive A.
  3. Power-on all external devices; then power-on the computer.
  4. When the Main Menu appears, 
     a. Select2
     b. After the information message, press Enter.
     c. Select E to run the diagnostic programs with expanded messages.
        The diagnostic program will test the adapter and terminate with the
        message "P/390 in slot X successfully passed all tests, or a failure 
        message that includes an error message and error code. The error 
        message will identify the failing FRU.
    d. If a failure message is displayed, it identifies the failing FRU(s) as:
        1. The adapter card, excluding the memory card
        2. The memory card
        3. Both the adapter card and the memory daughter card (when the failure can't be isolated). 
    e. Record the error code and replace the identified FRU.

Initialization (S/390)
   To Initialize (start) the S/390 Complex, click on the IPL 390 (370) Processor icon in the System/390 (System/370) Group on the OS/2 Desktop. 

OS/2 Desktop Icons Explained (S/390)
The system/390 (system /370) located in the OS/2 Desktop contains:
IPL 390 (370) Processor
Starts the S/390 Microprocessor Complex programs 
End 390 (370) Processor
Stops the S/390 Microprocessor Complex Programs 
390 (370) Configuration
Starts the 390 (370) Configurator program 
390 Manual Operation
Debugging tool see "Software Facilities" (ServerSystem/390)" 
370 I/O Trace
Debugging tool see "Software Facilities (Server System/S390)" 
370 Snap Shot Dump
Debugging tool see Software Facilities (Server/390)" 

 PC Server S/390 optional features:
o   S/370 Channel Emulator/A Adapter
           A Micro Channel adapter, which emulates the operation of an S/370 and S/390 channel.  This adapter can be used to attach  most S/390 I/O devices and/or controllers, except DASD, to the PC Server S/390.

Question:
I have a P/390 machine with a S/370 channel (POSID E014) in Slot  4. I have run automatic configuration after installing the card. 
    The IO Buffer Location is forced to "PROGRAMMED 64K > 1M" and shows as a conflict. Saving the configuration then booting the machine with the chan370 statements in CONFIG.SYS result in the card being detected but disabled.
   How can I fix this?

 Answer: The proper way to configure the S/370 channel card is to let the server autoconfigure on its own. Selecting the auto-config option is *not* the same. 
    1.Make sure the ADF file you are using for the S/370 channel card is the one from the P/390 disk, don't use the one that came with  the S/370 channel card itself. (That one has some options that are incompatible with the P/390. It sounds like you were using the right ADF, I just mention this in case somebody else is browsing this in the archives.) 
    2.Remove the card from the machine and go through configuration. 
    3.Shutdown the machine and re-install the S/370 channel card. 
    4.Power up the machine and when it asks if you want to autoconfigure say 'yes'. 
    5.Then when you look at the S/370 channel configuration it should be 
        OK. You can make changes at this point (to the interrupt level, for 
        example, or to other adapters) and save them and all will be fine. Its 
        just the initial 'forced' autoconfiguration that does something unique 
        that can't be reliably done any other way/time. 
   You may be able to get it to work by moving other cards, etc. but this is the only 'sure' way to do it

Configuration Structure (S/390)
The following illustration shows the hierarchy of menus in the PC Server System/390 Configurator. Online help is available for most of the menus.


9595 Main Page